| штат: | |
|---|---|
| Количество: | |
MSNL
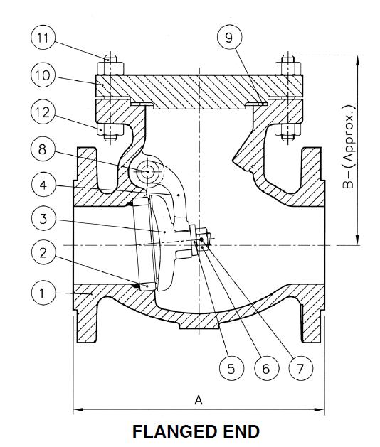
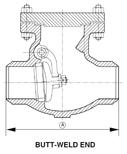
API/DIN/JIS Фланцевый обратный клапан из нержавеющей стали
Фланцевый поворотный обратный клапан PN16, его следует устанавливать в горизонтальном направлении, чтобы избежать среднего обратного потока.Фланцевый поворотный обратный клапан PN16, диск устанавливается внутри корпуса, между корпусом и крышкой имеется только прокладка, что снижает риск утечки.На крышке есть кольцо для обратных клапанов большого размера, лучше подвешивать при большом весе.Фланцевый поворотный обратный клапан открывается и закрывается средой и давлением.Обратный клапан из нержавеющей стали может быть изготовлен в полном диапазоне размеров, материалов и соединений, из бронзы, чугуна, углеродистой стали, нержавеющей стали, сплавов и т. д. Обратный клапан из нержавеющей стали может быть установлен в горизонтальном и вертикальном типе для удовлетворения различных условий использования. условия.
Обратный клапан из нержавеющей сталитехнические характеристики:
Размер: 2~48(Ду50~Ду1200)
Давление: 150 фунтов-2500 фунтов
Материал: A351-CF8, A351-CF8M, A135-CF3,А351-CF3M), A216-WCB, WCC, LCB, LCC, WC6, WC9, C5, C12 и т. Д.
Концы: RF, RTJ, BW и т. д.
Порт: полный порт
Уплотнение/Седло: Металл
Применимые стандарты обратного клапана из нержавеющей стали:
Стандарт дизайна и производства: БС1868/ЕН14341.
Стандарт давления и температуры: ASME B16.34/DIN2401.
Стандартный размер лицом к лицу: ASME B16.10/EN558.
Стандарт фланца: ASME B 16.5, ASME B16.47/EN1092.
Стандарт тестирования и проверки: API 598/EN12266.
Особенности обратного клапана из нержавеющей стали:
Крышка на болтах
Тип качания
Однонаправленный поток, обратный диск
Горизонтальные или вертикальные линии
Сварное сиденье
Возобновляемые кольца сиденья
Конкурентные преимущества обратного клапана из нержавеющей стали:
Наша продукция гарантируется в течение 18 месяцев после поставки.
Мы предлагаем бесплатный образец, если интерес перед заказами.
Обновление технологии, улучшение процессов, оптимизация структуры и улучшение качества.
Отличная система послепродажного обслуживания, обеспечивающая своевременное и оптимальное обслуживание, которое поможет вам завоевать рынок.
Удобный морской порт доставки и стандартные экспортные картонные коробки и фанерные ящики.
100% проверка и тестирование перед доставкой.
Проверка третьей стороной по требованию заказчика.
обратный клапан из нержавеющей стали, сделать поток в одном направлении и диск возвращается автоматически.Обратный клапан представляет собой автоматический клапан, для открытия или закрытия которого не требуется рукоятка или маховик.Он открывается и закрывается средой и давлением. Обратный клапан из нержавеющей стали могут быть изготовлены в полном диапазоне размеров, материалов и соединений, из бронзы, чугуна, углеродистой стали, нержавеющей стали, сплавов и т. д. Обратный клапан из нержавеющей стали может быть установлен в горизонтальном и вертикальном типе для удовлетворения различных условий использования.
API/DIN/JIS Фланцевый обратный клапан из нержавеющей стали
Фланцевый поворотный обратный клапан PN16, его следует устанавливать в горизонтальном направлении, чтобы избежать среднего обратного потока.Фланцевый поворотный обратный клапан PN16, диск устанавливается внутри корпуса, между корпусом и крышкой имеется только прокладка, что снижает риск утечки.На крышке есть кольцо для обратных клапанов большого размера, лучше подвешивать при большом весе.Фланцевый поворотный обратный клапан открывается и закрывается средой и давлением.Обратный клапан из нержавеющей стали может быть изготовлен в полном диапазоне размеров, материалов и соединений, из бронзы, чугуна, углеродистой стали, нержавеющей стали, сплавов и т. д. Обратный клапан из нержавеющей стали может быть установлен в горизонтальном и вертикальном типе для удовлетворения различных условий использования. условия.
Обратный клапан из нержавеющей сталитехнические характеристики:
Размер: 2~48(Ду50~Ду1200)
Давление: 150 фунтов-2500 фунтов
Материал: A351-CF8, A351-CF8M, A135-CF3,А351-CF3M), A216-WCB, WCC, LCB, LCC, WC6, WC9, C5, C12 и т. Д.
Концы: RF, RTJ, BW и т. д.
Порт: полный порт
Уплотнение/Седло: Металл
Применимые стандарты обратного клапана из нержавеющей стали:
Стандарт дизайна и производства: БС1868/ЕН14341.
Стандарт давления и температуры: ASME B16.34/DIN2401.
Стандартный размер лицом к лицу: ASME B16.10/EN558.
Стандарт фланца: ASME B 16.5, ASME B16.47/EN1092.
Стандарт тестирования и проверки: API 598/EN12266.
Особенности обратного клапана из нержавеющей стали:
Крышка на болтах
Тип качания
Однонаправленный поток, обратный диск
Горизонтальные или вертикальные линии
Сварное сиденье
Возобновляемые кольца сиденья
Конкурентные преимущества обратного клапана из нержавеющей стали:
Наша продукция гарантируется в течение 18 месяцев после поставки.
Мы предлагаем бесплатный образец, если интерес перед заказами.
Обновление технологии, улучшение процессов, оптимизация структуры и улучшение качества.
Отличная система послепродажного обслуживания, обеспечивающая своевременное и оптимальное обслуживание, которое поможет вам завоевать рынок.
Удобный морской порт доставки и стандартные экспортные картонные коробки и фанерные ящики.
100% проверка и тестирование перед доставкой.
Проверка третьей стороной по требованию заказчика.
обратный клапан из нержавеющей стали, сделать поток в одном направлении и диск возвращается автоматически.Обратный клапан представляет собой автоматический клапан, для открытия или закрытия которого не требуется рукоятка или маховик.Он открывается и закрывается средой и давлением. Обратный клапан из нержавеющей стали могут быть изготовлены в полном диапазоне размеров, материалов и соединений, из бронзы, чугуна, углеродистой стали, нержавеющей стали, сплавов и т. д. Обратный клапан из нержавеющей стали может быть установлен в горизонтальном и вертикальном типе для удовлетворения различных условий использования.
